Hash函数
基本概念
散列(Hash)函数,又称哈希函数或扎凑函数,是对不定长的输入产生定长输出的一种特殊函数,可以表达为h=H(M),M为消息,其长度不定,h被称为散列值、hash值、散列值或哈希值,长度一定,一般为128位或160位,如图1所示。
图1哈希函数
常见Hash算法
目前常用的Hash算法一般采用迭代型结构,这种结构的Hash函数已被证明是合理的。迭代型Hash函数的一般结构如图2所示:
图2Hash算法迭代型结构
其中M=Y0+Y1+…+YL-1,b为分组长度,n为输出的hash值长度,CVi是各级输出,CVL为Hash值。
下面介绍几种Hash算法都采用这种迭代型结构。
MD5算法
MD5算法在产生摘要时,输入的信息可任意长,对输入按512位的分组为单位进行处理,处理后输出为128位的Hash值。
算法实例
以明文“TheCaseOfmd5”为例,其16进制ASCII码为:5468652043617365204f66206d6435,转化为二进制为:10101000110100001100101001000000100001101100001011100110110010100100000010011110110011000100000011011010110010000110101,长度为119。
算法过程
第一步 消息填充
使消息的长度比512的整数倍少64位。由于消息的长度为119,若要比512的整数倍少64位,则消息长度应为448,故需要填充1个“1”和328个“0”。又因为119<264,故最后附上的64位为:0000000000000000000000000000000000000000000000000000000001110111。最终的消息长度=119位原消息+329位0和1填充内容+64位原消息长度信息=512位
第二步 初始化缓冲区
缓冲区用32位的寄存器,初始存数以十六进制表示为:A=0x12345678,B=0x89ABCDEF,C=0xFEDCBA98,D=0x76543210。
第三步 HMD5运算
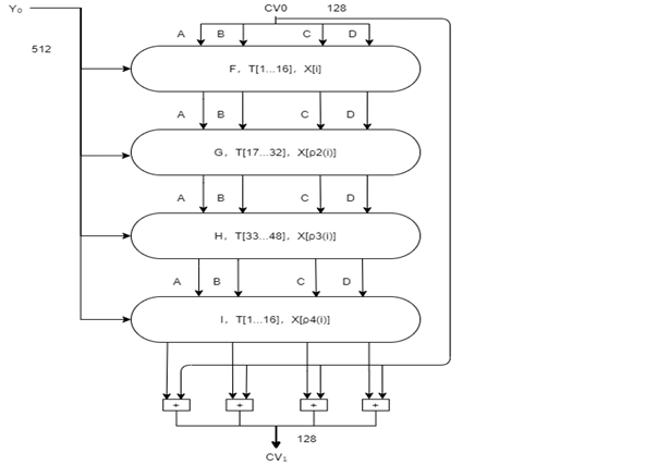
以分组为单位对消息进行处理。本例中只有一个分组Y0,在Y0组中需要经过压缩函数HMD5,其中包括4轮的处理过程。HMD5每轮的处理过程结构一样,但所用的逻辑函数不同,分别为F、G、H、I。每轮的输入为当前处理的消息分组Y0和缓冲区的当前值A、B、C、D,输出仍放在缓冲区中以产生新的A、B、C、D。每轮又要进行16步迭代运算,4轮共需64步完成。第四轮的输出与第一轮的输入相加得到最后的输出。如下图3、图4所示:
图3一个分组的Hmd5处理
图4一步迭代
表1逻辑函数
| 轮 | 基本函数g | g(b,c,d) |
|---|---|---|
| 1 | F(b,c,d) | (bÙc)Ú(b-Ùd) |
| 2 | G(b,c,d) | (bÙd)Ú(cÙd-) |
| 3 | H(b,c,d) | bÅcÅd |
| 4 | I(b,c,d) | cÅ(bÚd-) |
表 2 512位分组中x[k]的使用顺序
| 轮 | 使用顺序 |
|---|---|
| 1 | x[0,1,2,3,4,5,6,7,8,9,10,11,12,13,14,15] |
| 2 | x[1,6,11,0,5,10,15,4,9,14,3,8,13,2,7,12] |
| 3 | x[5,8,11,14,1,4,7,10,13,0,3,6,9,12,15,2] |
| 4 | x[0,7,14,5,12,3,10,1,8,15,6,13,4,11,2,9] |
表 3 从正弦函数构造的表T
| 0xD76AA478 | 0xE8C7B756 | 0x242070DB | 0xC1BDCEEE | 0xF57C0FAF | 0x4787C62A | 0xA8304613 | 0xFD469501 |
|---|---|---|---|---|---|---|---|
| 0x698098D8 | 0x8B44F7AF | 0xFFFF5BB1 | 0x895CD7BE | 0x6B901122 | 0xFD987193 | 0xA679438E | 0x49B40821 |
| 0xF61E2562 | 0xC040B340 | 0x265E5A51 | 0xE9B6C7AA | 0xD62F105D | 0x02441453 | 0xD8A1E681 | 0xE7D3FBC8 |
| 0x21E1CDE6 | 0xC33707D6 | 0xF4D50D87 | 0x455A14ED | 0xA9E3E905 | 0xFCEFA3F8 | 0x676F02D9 | 0x8D2A4C8A |
| 0xFFFA3942 | 0x8771F681 | 0x6D9D6122 | 0xFDE5380C | 0xA4BEEA44 | 0x4BDECFA9 | 0xF6BB4B60 | 0xBEBFBC70 |
| 0x289B7EC6 | 0xEAA127FA | 0xD4EF3085 | 0x04881D05 | 0xD9D4D039 | 0xE6DB99E5 | 0x1FA27CF8 | 0xC4AC5665 |
| 0xF4292244 | 0x432AFF97 | 0xAB9423A7 | 0xFC93A039 | 0x655B59C3 | 0x8F0CCC92 | 0xFFEFF47D | 0x85845DD1 |
| 0x6FA87E4F | 0xFE2CE6E0 | 0xA3014314 | 0x4E0811A1 | 0xF7537E82 | 0xBD3AF235 | 0x2AD7D2BB | 0xEB86D391 |
(注:从第一行起从左往右读,分别表示T[1,2,…,64],前两行参与第一轮运算,三四行参与第二轮,以此类推。每两行共16个数据依次对应每轮中16步。)
CLSs规则
| 轮 | 1-4步 | 5-8步 | 9-12步 | 13-16步 |
|---|---|---|---|---|
| 1 | 7、12、17、22 | 7、12、17、22 | 7、12、17、22 | 7、12、17、22 |
| 2 | 5、9、14、20 | 5、9、14、20 | 5、9、14、20 | 5、9、14、20 |
| 3 | 4、11、16、23 | 4、11、16、23 | 4、11、16、23 | 4、11、16、23 |
| 4 | 6、10、15、21 | 6、10、15、21 | 6、10、15、21 | 6、10、15、21 |
根据上述的三个表以及左移规则,就可以开始md5的计算了。首先,将填充结果分成16段每段32位。
X[0]:10101000110100001100101001000000 转为16进制为 0xA8D0CA40
X[1]: 10000110110000101110011011001010
X[2]: 01000000100111101100110001000000
X[3]: 11011010110010000110101100000000
… (注:X[4]-X[13]每段32位上都为0)
X[14]:00000000000000000000000000000000
X[15]:00000000000000000000000001110111
第一轮第一步迭代,如图 5所示:
图5 第一轮第一步迭代带数据
(注:上述演示数据均为16进制)
第一轮之后的15步以及剩余各轮中的16步都类似图5的操作,不再做演示。
第四步 输出
最终,经过64步运算后,所得的结果与最初输入的分组进行模232加法(如果两数相加后大于等于232,则结果除以232取余数),见图3。由于本例中只有一个分组,故所得结果即为最终输出,128位的消息摘要(输出位A、B、C、D的值:低字节位A,最高字节位D)。举例如下图5所示:
图 6 最终输出结果举例
SHA算法
算法实例
以明文“TheCaseOfsha-1”为例。其二进制值为101010001101000011001010100001101100001011100110110010101001111011001100111001101101000011000010010110100110001,长度为111。
算法过程
SHA处理消息的过程与MD5算法类似。
第一步 消息填充
填充消息使其长度与448模512同余。填充的方法是在消息后附加一个1和若干个0。然后附上填充前的报文长度的64位数据(最高有效位在前)。
本例需要填充1个“1”和337个“0”,最后附上111的长度信息11011110 00000000 00000000 00000000 00000000 00000000 00000000 00000000。
第二步 初始化缓冲区
哈希函数的中间结果和最终结果保存于160位的缓冲区中,缓冲区用5个32位的寄存器(A、B、C、D、E)表示,并将寄存器初始化为下列32位的整数:
A=67452301,B=EFCDAB89,C=98BADCFB,D=10325476,E=C3D2E1F0
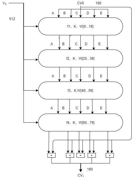
第三步 HSHA-1算法
图 7 SHA-1算法产生消息摘要
类似MD5算法,SHA-1算法也具有4轮运算模块,但每轮进行20步迭代。每轮输入为消息分组Yq 和缓冲区的160位当前值A、B、C、D、E。输出为新的缓冲区值A、B、C、D、E。每轮的结构相同,但每轮使用一个不同的加法常量Kt 其中t表示步数,0≤t≤79,如表所示,且每轮使用不同的逻辑函数。
图 8 一个分组的HSHA-1 处理
表 4 算法中使用的加法常量
| 步骤 | 十六进制 |
|---|---|
| 0≤t≤19 | Kt =5A827999 |
| 20≤t≤39 | Kt =6ED9EBA1 |
| 40≤t≤59 | Kt =8F1BBCDC |
| 60≤t≤76 | Kt =CA62C1D6 |
表 5 各轮中使用的逻辑函数
| 步骤 | Kt的十六进制 | 取整数部分 |
|---|---|---|
| 0<= t <=19 | f1 = f(t,B,C,D) | (B&C)|((~B)&D) |
| 20<= t <=39 | f2 = f(t,B,C,D) | B C D |
| 40<=t<=59 | f3 = f(t,B,C,D) | (B&C)|(B&D)|(C&D) |
| 60<=t<=79 | f4 = f(t,B,C,D) | B C D |
图 9 Wt的导出过程
开始运算,首先将Y0分为16个分组:
W0=10101000110100001100101010000110
W1=11000010111001101100101010011110
W2=11001100111001101101000011000010
W3=01011010011000110000000000000000
W4-13=0000000000000000…000000000000
W14=11011110000000000000000000000000
W15=00000000000000000000000000000000
再利用分好的16个组计算剩余的分组,以W16为例:
W0


W16=CLS1(1100100001101100001101001000100)=1001000011011000011010010001001
进入轮操作,以第一轮第一步为例:
图 10 第一轮第一步SHA操作
第四步 输出
分组处理完毕后,输出的就是160位的消息摘要。














